1 / 0




Highlights
Specifications
Flush installation
Water tank
Large cavity
LED light source
External steam generation
Steaming without pressure with 100% humidity from 30 °C to 100 °C
Sous-vide cooking with accurate temperature regulation
TFT touch display
Panel-free appliance with surface control module
Electronic temperature control from 30 °C to 100 °C
Net volume 59 litres
100 % humidity.
Sous-vide cooking.
Dough proofing.
Defrosting.
Regenerating.
Low temperature steaming.
Rotary knob and TFT touch display operation.
Clear text display.
Personalisation of automatic programmes.
Information key with use indicators.
Side-opening door opens up to 110° angle.
Removable 1.7 litre water tank.
Water level warning.
Actual temperature display.
Automatic boiling point detection.
LED light on the side.
Hygienic stainless steel cooking interior.
3 tray levels.
Home network integration for digital services (Home Connect) either via cable connection LAN or wireless via WiFi.
The use of the Home Connect functionality depends on the Home Connect services, which are not available in every country. For further information please check: home-connect.com.
Child lock.
Safety shut-off.
Cooled housing with temperature protection.
Cleaning aid.
Descaling programme for the steam generator.
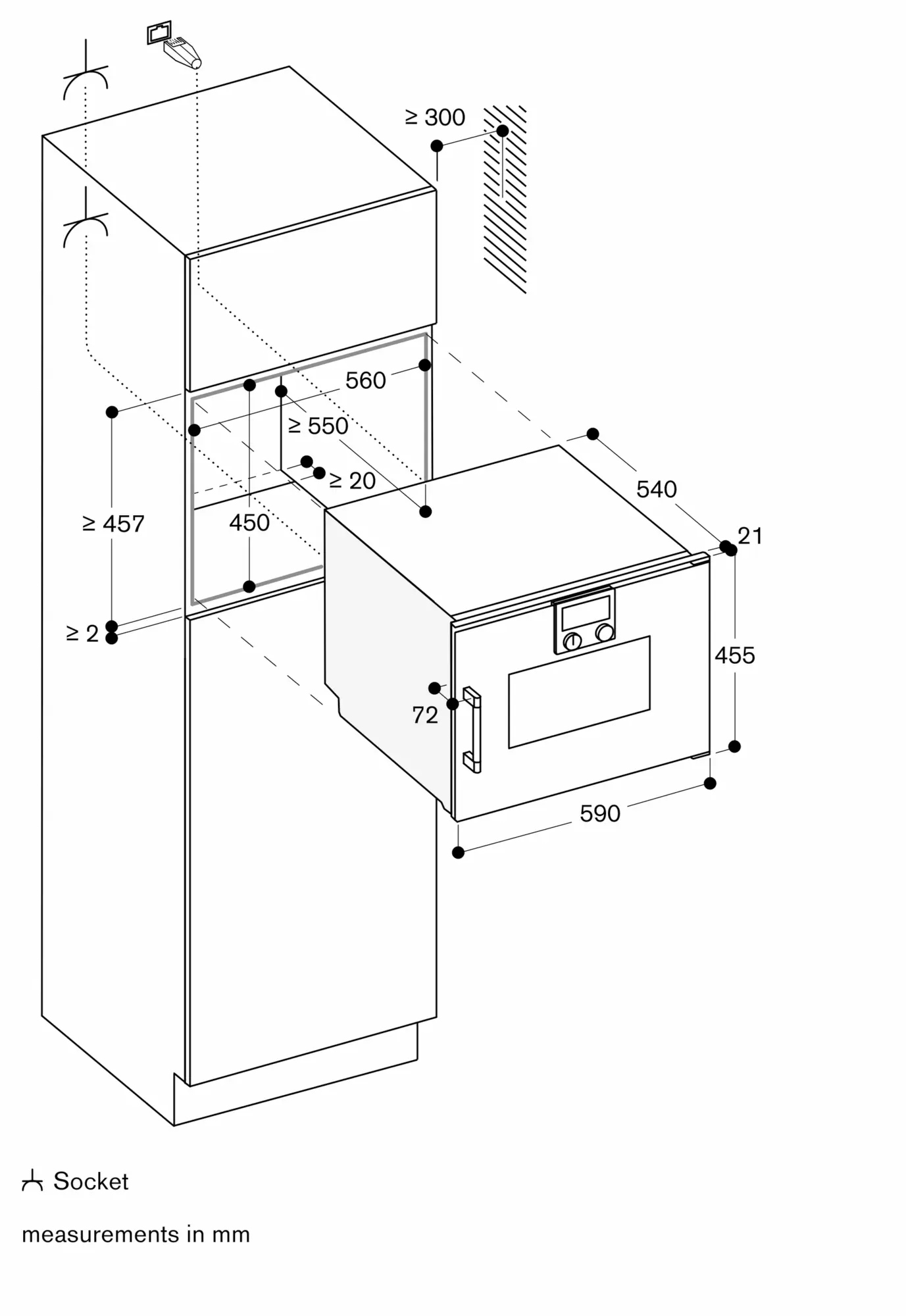
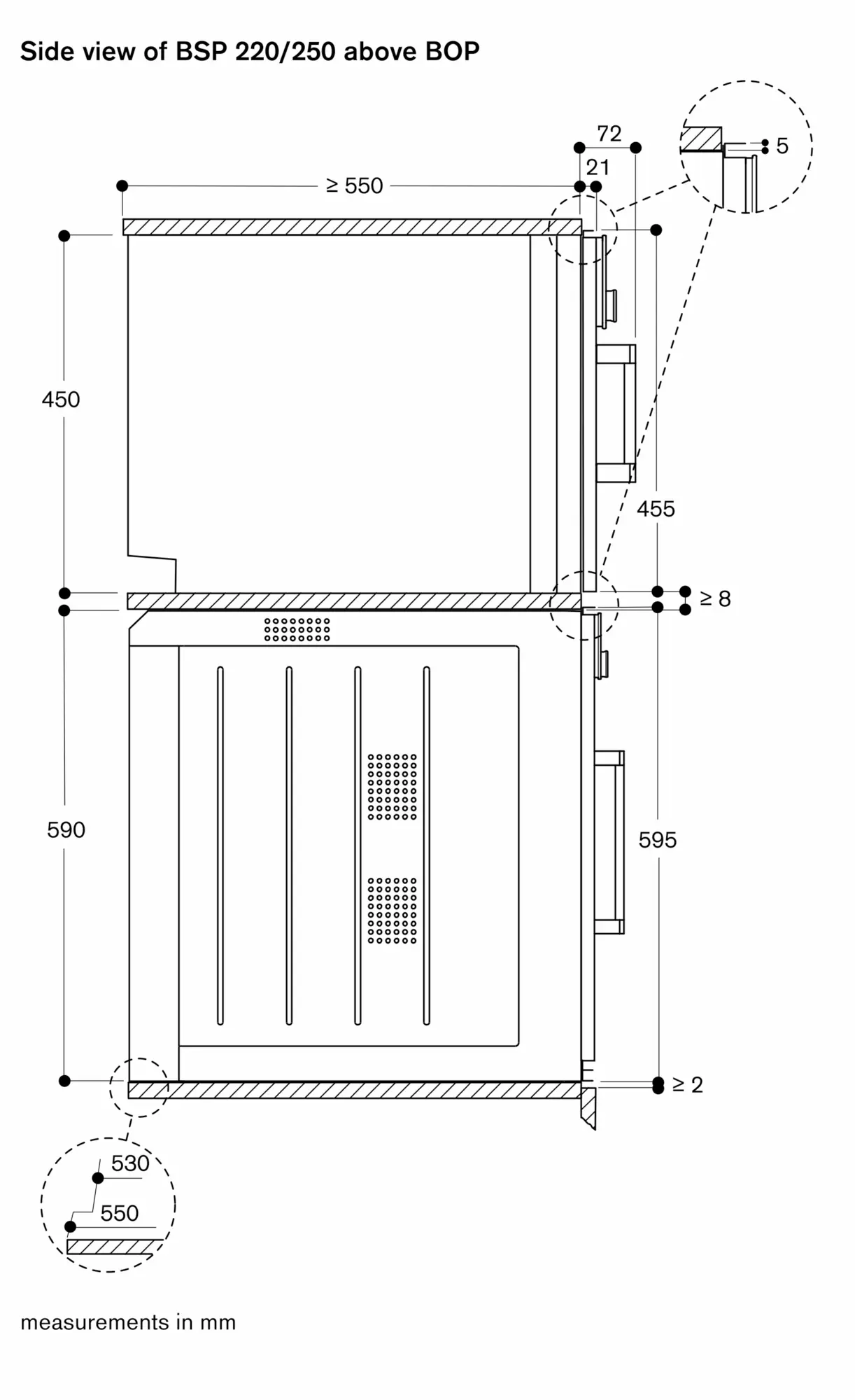
Door hinge not reversible.
No other electrical appliances should be installed above the BS.
The door panel surface of the appliance extends 21 mm from the furniture cavity.
The outer edge of the door handle extends 72 mm from the furniture cavity.
Necessary lateral gap between appliance door and furniture panel of min. 5 mm.
Consider the overhang, incl. the door handle, when planning to open drawers next to the appliance.
When planning a corner solution, pay attention to the 110° door opening angle.
The mains socket needs to be planned outside the built-in niche.
The LAN port can be found at the back on the lower left side.
Total connected load 2.8 KW.
Connecting cable 1.8 m with plug.
Plan a LAN cable.
Power consumption standby/display on 0.8 W.
Power consumption standby/display off 0.5 W.
Power consumption standby/network 1.8 W.
Time auto-standby/display on 20 min.
Time auto-standby/display off 20 min.
Time auto-standby/network 20 min.
Please check the user manual for how to switch off the WiFi module.